Satelliidi alamsüsteemid ja nendevahelised liidesed

Ajakirja pealkiri

Ajakirja ISSN

Köite pealkiri

Kirjastaja

Tartu Ülikool

Abstrakt

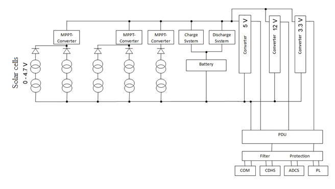
BeSt programmi toetusel valminud sisupakett annab ülevaate klassikalise väikesatelliidi alamsüsteemidest kasutades Eesti Tudengisatelliidi programmi käigus konstrueeritud ESTCube-1 näidet.

Kirjeldus

Märksõnad

kosmos, satelliit, ESTCube, tudengisatelliit, BeSt programm, sisupakett

Viide